审核模块主要展示微信公众号、微博中技术监测到的错别字、敏感词及外链,并提供审核功能。
一、错别字审核
微信、微博错别字审核界面类似,现以微信错别字审核为例:

按上图标注分块说明:
1.在模块①中,可以根据审核时间进行快速检索。
2.在模块②中,可以根据分组、公众号、技术初步判断结果、审核状态、标题关键词进行联合快速查询。
3. 在模块③中,先在列表中选择批量操作对象,然后点击【批量标记】,可以进行批量设置审核状态。
4. 在模块④中,点击【报表下载】,可以将报表下载至本地。
5. 在模块⑤中,点击标题后的上下箭头,可按标题进行排序展示。
6. 在模块⑥中,点击表格内的标题,可以跳链至文章的详情页。
7. 在模块⑦中,点击表格内的错别字,可以进行定位。
8. 在模块⑧中,点击“不必修改”、“一般性”、“严重性”,可对单个错别字进行快速审核。
9.在模块⑨中,点击同标题查询,检索出相同标题的文章信息。
注:审核为“不必修改”的错别字,系统默认为非真正的错别字,因此不会在“错别字”监测列表中展示。
二、敏感词审核
微信、微博及今日头条中敏感词审核界面类似,现以微信敏感词审核为例:

按上图标注分块说明:
1.在模块①中,可以根据审核时间进行快速检索。
2.在模块②中,可以根据分组、公众号、审核状态、关键词进行联合快速查询。
3.在模块③中,先在列表中选择批量操作对象,然后点击【批量标记】,可以进行批量设置审核状态。
4.在模块④中,点击【报表下载】,可以将报表下载至本地。
5.在模块⑤中,点击标题,可以进入微信公众号文章详情页。
6.在模块⑥中,点击“是敏感词”、“非敏感词”,可对单个敏感词进行快速审核。
7.在模块⑦中,点击同标题查询,检索出相同标题的文章信息。
注:审核为“非敏感词”的敏感词,不会在“敏感字”监测列表中展示。
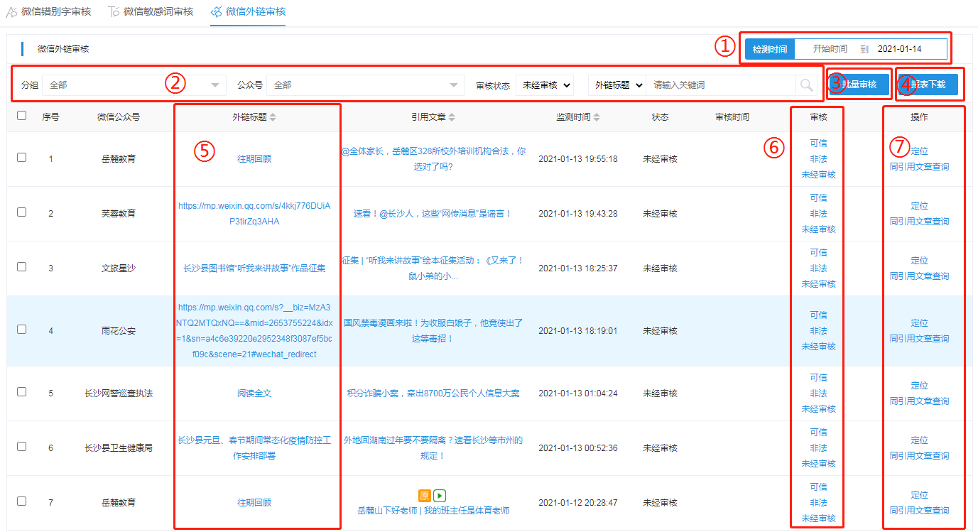
三、外链审核
微信、微博及头条号外链审核界面类似,现以微信外链审核为例:

按上图标注分块说明:
1.在模块①中,可以根据审核时间进行快速检索。
2. 在模块②中,可以根据分组、公众号、审核状态、关键字快速查询;
3. 在模块③中,先在列表中选择批量操作对象,然后点击【批量标记】,可以进行批量设置审核状态。
4. 在模块④中,点击【报表下载】,可以将报表下载至本地。
5. 在模块⑤中,点击外链标题,可以进入微信公众号文章详情页。
6. 在模块⑥中,点击“可信”、“非法”、“未经审核”可快速对单个敏感词进行审核。
7. 在模块⑦中,点击定位,可以定位外链在引用文章中的位置。
点击同引用文章查询,检索同一篇文章中的不同外链。