query.js
百度统计
百度商桥
跳转
发布时间:2021-02-02 15:39:25     作者:

简单配置即可自主订阅和采集各个微信公众号、微博(目前仅新浪)、今日头条信息。微信、微博及头条采集配置操作类似,现以微信采集配置操作为例,操作界面如下:



一、添加新媒体采集任务

点击页面中的“单个添加”按钮,可添加微信公众号,在添加微信弹窗中输入微信ID、微信名称、认证主体及选择运营状态点击保存即可。



若“是否诊断”选中了“是”,则系统会采集新媒体文章,也会诊断新媒体健康新(错别字、敏感词、外链等数据)。若选择了“否”,则仅采集文章。


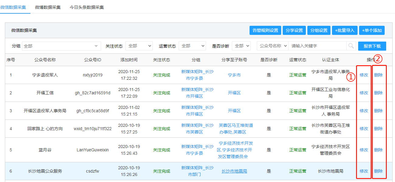
二、修改及删除采集任务



按上图标注分块说明:

1.在模块①中,点击【修改】,则可以修改微信公众号的相关信息。

2.在模块②中,点击【删除】,则会删除选择的微信公众号,且微信公众号中的信息也将不会被继续采集。


三、新媒体分组

(一)在分组设置中新建分组

点击“采集配置”各子模块中的“分组设置”按钮,即可分别对已配置好的微信、微博及今日头条进行分组。



点击上图中的“新建分组”,输入分组名称保存即可。




(二)删除及修改分组名称

点击分组设置弹窗中的修改小图标,即可修改分组名称及备注;若点击删除小图标,即可删除该分组。



(三)在“分组设置”弹窗中批量分组

在分组设置弹窗中,操作截图如下:



操作步骤如下:

1.在模块①中,选中待管理微信的分组名称。

2.如何添加微信至分组?

       在模块②中,选择待添加的微信公众号。

      点击模块③按钮,将已选中微信导入至“组内微信”列表框。

3.如何将微信移出分组?

       点击模块④按钮,将“组内微信中”点击保存即可保存当前分组设置。

       在模块⑤中,选择待移出的组内微信公众号。

4.在模块⑥中,点击保存,可保存当前分组设置。(若未保存,则当前分组配置将不生效)。

(四)在采集配置列表中单独分组

在下图中,点击分组列中分组名称,可对单个新媒体进行分组(若未设置过分组类别,请通过“分组设置”新建分组):




四、将采集监测的数据分享给下级单位账号

管理员账号可以通过“分享至子账号”功能,实现上级监测数据同步共享给下级单位,下级单位账号登录可查看上级分享过来的数据。从而实现分级管理授权。



图片最大100%