在“采集设置”/“新媒体配置”/“转发任务配置”模块下实现对转发任务进行设置与管理。
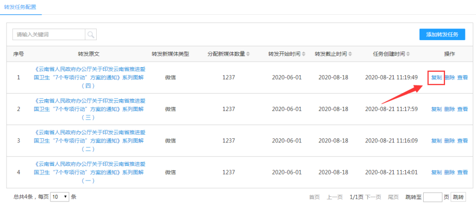
新建转发任务有两种方式:(1)直接添加;(2)复制已有任务添加。如下图:
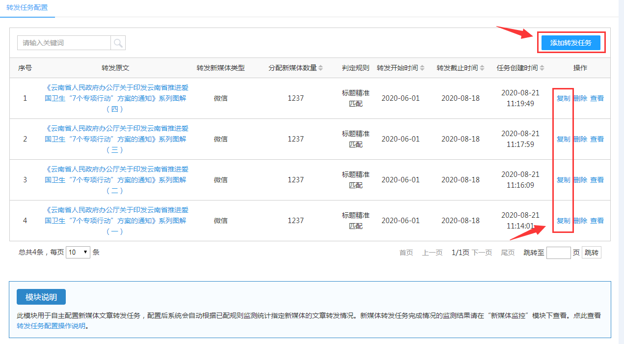
点击转发任务配置模块页中的“添加转发任务”按钮,跳转至任务添加界面。具体如下:

对应上图编号说明:
模块1:可批量设置多个转发任务原文标题及地址。注意:因为原文标题是转发任务判定的主要依据,因此原文标题一定要填写准确、完整,否则将影响监测结果。
模块2:支持添加或者删除更多转发文章。
模块3:支持用户自定义选择转发判定规则。
“标题精准匹配”要求转发文章的标题必须与转发原文标题精准匹配,系统才会判定为转发。
“转发标题包含原标题”:要求转发文章的标题中含有完成的原文标题即算转发。示例:原文标题为“国务院办公厅关于印发2020年政务公开工作要点的通知”,若转发文章标题为:“转发《国务院办公厅关于印发2020年政务公开工作要点的通知》”或者“国务院办公厅关于印发2020年政务公开工作要点的通知(转发)”,系统均会判定为已转发。
模块4:设置转发开始时间与结束之间。
转发开始时间的设定,为系统查询自该时间开始,新媒体是否有转发对应文章,而早于该开始时间的转发系统不会做判断。因此,建议开始时间尽量往前推,如下发转发任务的时间为2020年9月1日,可设置转发任务开始时间为2020年8月20日。
转发结束时间的设定,为系统判定新媒体是否按时转发的依据。若新媒体在结束时间之前转发,那么为:“按时转发”,若新媒体在结束时间之后转发,那么为“超时转发”。用户按实际要求设定结束时间即可。
模块5:设置指定转发微信、微博及头条号。设置后,系统仅对已设置的新媒体的文章转发情况进行监测。点击设置按钮,如转发微信的设置按钮后,在下图中选择指定微信后,点击确定即可。

通过上图中的是否配置选择控件,可快速切换查看当前“已配置”与“未配置”新媒体。
模块6:点击“保存并返回”将自动保存并跳转至转发任务配置列表。点击“配置下一个转发任务”则会自动保存当前配置并跳转至新的转发任务配置页。点击“取消”,则取消当前配置并跳转返回转发任务配置列表。
模块7:点击“取消”,则取消当前配置并跳转返回转发任务配置列表。
为便于用户快速配置转发任务,系统除支持同时配置多个文章转发任务外,还支持用户复制已配置转发任务快速新建任务。

复制转发任务后,系统会默认复用“被复制”转发任务的转发设置,用户仅需添加转发文章标题及链接即可。当然也可对复用规则进行调整修改。
具体设置操作同“直接添加转发任务”,在此不赘述。

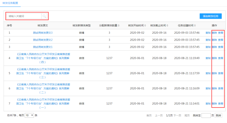
2.转发任务查询、查看与删除
系统支持用户输入原文标题关键词查询、支持查看转发任务设置详情,并可删除转发任务。操作较为简单,在此不赘述。

相关推荐:
● 十张图了解2020年中国互联网政务行业市场现状与发展趋势分析 政务新媒体不断发展
●【荐读】国办通报政府网站、政务新媒体检查结果 “网上看”“指尖办”成常态